Tăietor și Îndoitor de Rezistoare FL-606U/606F
Atât tipul U, cât și tipul F pot fi echipate cu alimentator vibrant sau fără alimentator vibrant.
Potrivit pentru tăierea și îndoirea rezistoarelor în masă și pe bandă, diodelor și altor componente axiale.
Tăierea și îndoirea completă într-o singură operație, lungimea piciorului și deschiderea reglabile, capacitate mare de procesare.
Lame fabricate din oțel japonez, durată lungă de viață, întreținere simplă.
FL-606 este echipat cu alimentator vibrant, FL-606A nu este echipat cu alimentator vibrant.
Viteză: 5000 buc/h
Dimensiuni: 820*480*740 mm
Greutate: 60 kg
Putere: 180 W
Alimentare: 110/220V AC 60/50Hz
|
Element |
FL-606(U) |
FL-606(F) |
|
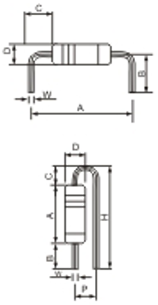
A |
6-40 |
4-18 |
|
B |
3.6-15 |
2-20 |
|
C |
1.2min |
2.5min |
|
D |
1.5-8 |
1.5-8 |
|
W |
0.35-1 |
0.35-1 |
|
H |
|
25min |
|
P |
|
3-13.5 |
|
R |
|
1 |
Tăietor, Îndoitor și Formator de Rezistoare FL-608(U)
Potrivit pentru formarea orizontală (formă K sau aplatizare), tăierea picioarelor rezistoarelor și diodelor pe bandă sau în masă și altor componente axiale.
Graduator de precizie ridicată, tăierea și formarea picioarelor într-o singură operație, capacitate mare de procesare.
Opțiuni: rezistoare în masă potrivite pentru FL-608-MA/CA, rezistoare pe bandă potrivite pentru FL-608-MB/CB, rezistoare în masă și pe bandă potrivite pentru FL-608.
Matrițele pot fi personalizate în funcție de cerințele clientului, orice formă poate fi proiectată și procesată, fiind una dintre cele mai optime mașini de formare a rezistoarelor de pe piață.
Alimentare: 110/220V AC 60/50Hz
Dimensiuni: 1050*550*650 mm
Viteză: 6600 buc/h
Greutate: 100 kg
Putere: 250 W
Presiune aer: 4-6 kg/cm²
A: 3.8-20
B: 2.3-8
C: 1.2min
D: 3-12 (valoare fixă)
E: reglabil
S: 2-3
L: A+2C
W: φ0.4-φ1.3
Tăietor, Îndoitor și Formator de Rezistoare FL-609(F)
Potrivit pentru formarea verticală (formă K sau aplatizare), tăierea picioarelor rezistoarelor și diodelor pe bandă sau în masă și altor componente axiale.
Graduator de precizie ridicată, tăierea și formarea picioarelor într-o singură operație, capacitate mare de procesare.
Opțiuni: componente în masă potrivite pentru FL-609-FA, componente pe bandă potrivite pentru FL-609-FB, componente în masă și pe bandă potrivite pentru FL-609.
Matrițele pot fi personalizate, orice formă de procesare poate fi proiectată, fiind una dintre cele mai optime mașini de formare a rezistoarelor de pe piață.
Alimentare: 110/220V AC 60/50Hz
Dimensiuni: 1050*550*650 mm
Greutate: 100 kg
Putere: 250 W
A: 3.8-20
B: 2.3-8
C: 1.2min
D: reglabil
E: reglabil
W: φ0.4-φ1.3
Capacitate: 110 buc/min
Tăietor de Condensatoare FL-803
Potrivit pentru tăierea și ajustarea picioarelor componentelor radiale în vrac.
Mod de alimentare prin vibrație plată, potrivit atât pentru componente mari, cât și pentru cele mici.
Mașina de tăiat și alimentatorul vibrant pot fi folosite împreună sau separat, pentru a extinde gama de aplicații.
Metodă specială de tăiere, lame fabricate din oțel japonez, durată lungă de viață, reglare simplă.
Gama de alimentare automată include: condensatoare electrolitice (diametru 3-10 mm, înălțime nu depășește 16 mm), LED-uri (diametru 3-8 mm), tranzistoare și o parte din condensatoare ceramice.
Pentru alte componente radiale de formă specială, se poate realiza un alimentator personalizat pentru alimentarea și tăierea automată.
Echipamentul este compus din: mașină de tăiat, alimentator vibrant, platformă de susținere și remorcă.
Viteză: 18000 buc/h
Putere: 250 W
Dimensiuni: 840*560*960 mm
Greutate: 105 kg
Alimentare: 110/220V AC 60/50Hz
A: 3-8 mm
H: 0.6-20 mm
W: 0.4-1 mm
Capacitate: 300-500 buc/min
Tăietor, Îndoitor și Formator de Condensatoare în Vrac FL-809
Potrivit pentru componente radiale precum LED-uri, condensatoare electrolitice, tranzistoare, condensatoare Y, condensatoare cu film metalizat și altele.
Formă ----- personalizată în funcție de nevoile clientului, îndoire la 90°, îndoire interioară, îndoire exterioară, îndoire față-spate, formă K și altele.
Control ----- Control prin PLC Mitsubishi
Operare ----- Operare prin ecran tactil HMI
Structură ----- Structură de acționare prin came de înaltă calitate, precisă, stabilă, durabilă și silențioasă, toate părțile sunt tratate termic special, durată lungă de viață.
Procedeu ----- alimentare automată prin vibrație, prindere, ajustare pinuri, verificare polaritate, rotire, verificare suplimentară, descărcare, tăiere, formare. Toate operațiile se realizează într-un singur ciclu, reglabil.
Matrițe ----- Fabricate din oțel japonez, matrițe combinate, înlocuire rapidă, reglare separată.
Preluare ----- Dispozitiv de preluare flexibil și cu bare dințate, prindere stabilă, fără deteriorarea componentelor, dimensiuni similare pot folosi același dispozitiv de preluare.
Viteză: 8000 buc/h
Dimensiuni: 1500*1000*1500 mm
Greutate: 400 kg
Putere: 1000 W
Alimentare: 110/220V AC 60/50Hz
Presiune aer: 4-6 kg/cm²
Formator de Tranzistoare de Putere în Vrac FL-950A
Destinat procesării tranzistoarelor de putere în vrac, tranzistoarelor triode și componentelor similare.
Alimentare componentelor prin vibrație plată.
Componentele în vrac utilizează alimentator vibrant pentru identificarea automată a polarității și alimentare.
Motor de marcă Taiwan TWT, matrițe fabricate din oțel japonez DC53, HRC60-62 grade.
Poziționare prin despărțitor, stabilitate ridicată.
Formarea și tăierea se realizează în pași separați, înlocuirea matrițelor este simplă și rapidă.
Formarea și tăierea complet automată, realizând separarea om-mașină.
Relee de timp și senzori fotoelectrice de marcă Taiwan RIKO, relee electrice și componente principale de control electrice importate original OMRON.
Structură complet mecanică, evitând posibilele defecțiuni ale structurilor pneumatice.
Viteză: 3600 buc/h
Dimensiuni: 1050*600*900 mm
Greutate: 140 kg
Alimentare: 110/220V AC 60/50Hz
